Couplings / accessories
Current position : Couplings / accessories
|
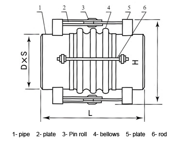
SFF820 05 Straight Pressure Balanced Expansion Joint There are two small bellows at each end, connected by a balanced bellow in the center. It can absorb the thrust with balance and to minimize the reaction load. |
|
|||||||||||||||||||||||||||||||||||||||||||||||||||||||||||||||||||||||||||||||||||||||||||||||||||||||||||||||||||||||||
![]()






